「分享网」
交流区
首页
最新项目
撸菜工具
本站推荐
合集系列
活动区
曝光
项目区
交流区
真假PG验证
黑屋
黑屋
签到
搜索
登录
交流区
陈永东
陈永东
FFFang
2024-7-2
5120
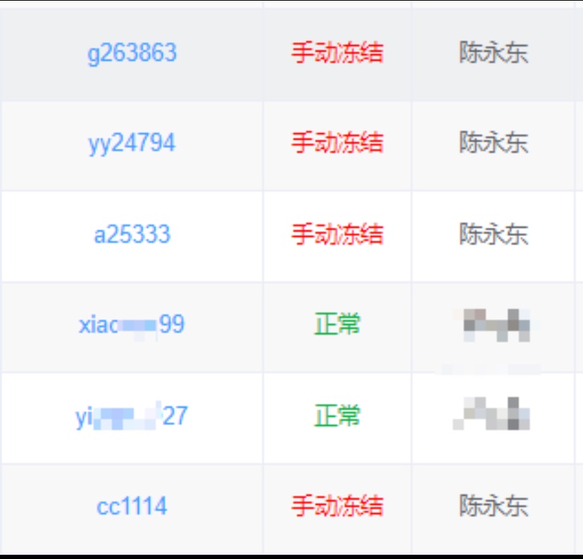
这个兄弟谁啊 p图大网啊怎么逆天
上传的附件:
IMG_2888.jpeg
(大小:74.68K,下载次数:1)
点赞
0
收藏
0
打赏作者
本站声明
1、本帖标题:
陈永东
2、本站网址:
https://www.fxw7.cc/
3、本站资源均来自互联网-需自行判断与负责。每日更新(论坛内容仅用于 薅羊毛 白嫖 论坛严禁充值娱乐 严禁任何形式推广 发现一律提交当地公安 )感谢您的支持!
4、本站由菲律宾华人分享网公司运营,本站运营非盈利机构,请您满足18+ 后进行访问并确保你所在的当地区支持相关的游戏管理 支付、及支持服务等事宜, 游戏易上瘾,请注意节制。
收藏的用户(
0
)
X
正在加载信息~
最新回复
(
3
)
FFFang
楼主
2024-7-3
0
4
楼
尘落
你这个死狗也是太闲了
是你啊
心动看
2024-7-2
0
3
楼
什么平台这么好p
happy99
2024-7-2
0
2
楼
你这个死狗也是太闲了
【分享网】
5
楼
登陆
丨
注册
评论
高级回复
返回
发新帖
FFFang
搜索
本站杜绝一切以赌博获利的存在,所有项目均来自互联网转载。收录内容真实性需自行判断,如出现任何问题本站免责。感谢理解